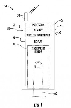
Il y a peu nous vous indiquions que l’iPhone 5s comporterait un lecteur d’empreintes digitales, la rumeur se confirme. Celui-ci ne sera pas situé sur le bouton Home mais directement sur la surface tactile de l’écran. Un brevet d’Apple, visible sur le schéma ci-dessous le montre clairement.

